Looking for factory part numbers on your Isuzu 4JJ1XYSB02 engine? This 80-page catalog (OEM #P-T1160EAC) maps every component, from cylinder head gaskets to turbocharger studs, through exploded-view diagrams tied directly to OEM part numbers. Coverage spans the fuel injection system, crankshaft and piston assembly, camshaft and valve train, plus turbocharger mounting hardware. Thirty-five pages of engine diagrams show each bolt, gasket, and bracket with callout numbers matched to the parts list. Cylinder head gaskets come in three thickness grades (1-notch at 1.05 mm, 2-notch at 1.10 mm). Turbo mounting studs spec at M8X20 L=31; idle gear bolts run M10X60 or M12X60. Bookmarked by system for quick jumps to fuel filters, oil coolers, or wiring harness clips.
What's Inside This Isuzu 4JJ1XYSB02 Parts Manual
| System | Pages | Key Topics |
|---|---|---|
| パーツカタログの見方 | 1-1 | - |
| How to read this Parts Catalog. | 2-2 | - |
| How to read this Parts Catalog. (Detailed) | 4-5 | Assemblies, Kits, Sets and Their Components |
| 略語表/Abbreviation List | 6-7 | - |
| Engine Gasket Kit | 8-11 | - |
| Cylinder Head Cover | 12-13 | - |
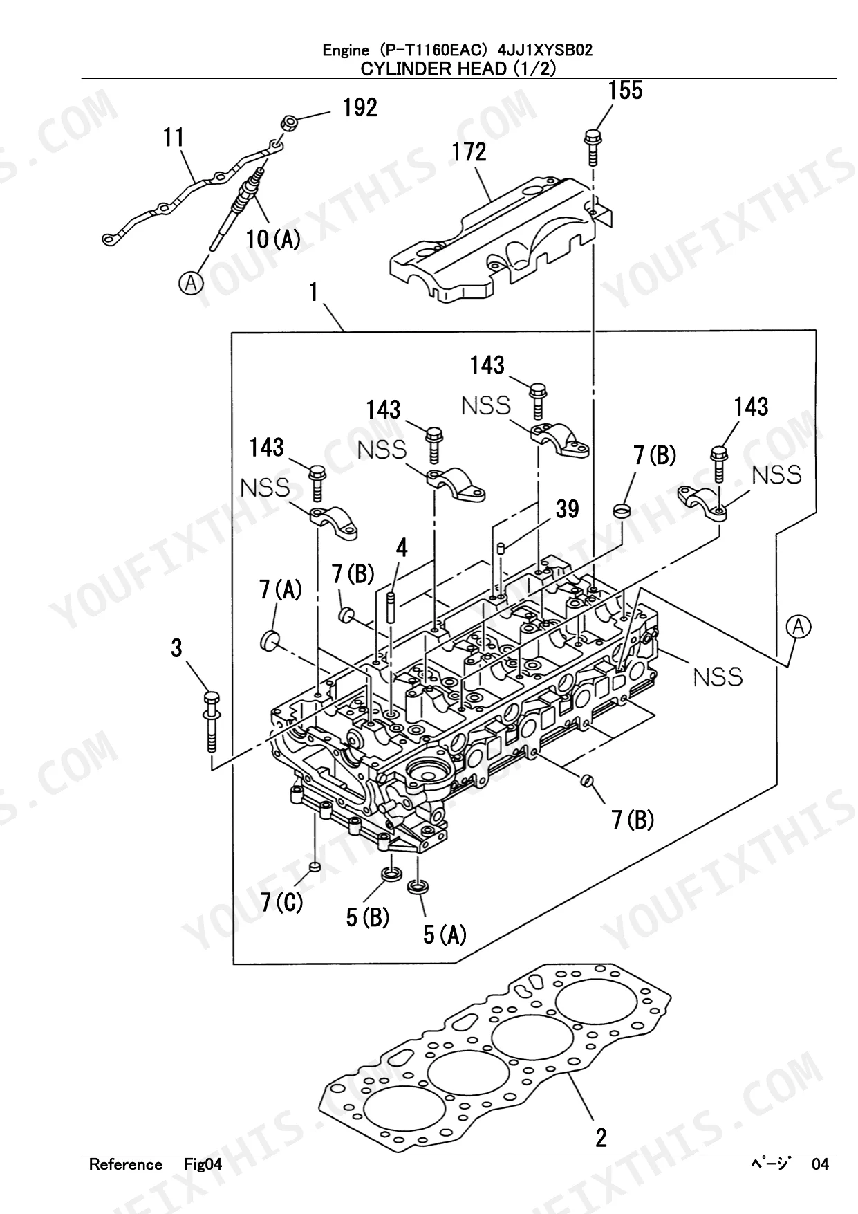
| Cylinder Head | 14-17 | - |
| Cylinder Block | 18-21 | - |
| Oil Pan and Level Gauge | 22-23 | - |
| Camshaft and Valve | 24-27 | - |
| Crankshaft, Piston and Flywheel | 28-29 | - |
| Timing Gear Case and Flywheel Housing | 30-31 | - |
| Engine Mounting | 32-33 | - |
| Inlet Manifold | 34-35 | - |
| Exhaust Manifold | 36-37 | - |
| Ventilation System | 38-39 | - |
| Water Pump and Corrosion Resistor | 40-41 | - |
| Thermostat and Housing | 42-43 | - |
| Water Piping; Engine | 44-45 | - |
| Fan and Fan Belt | 46-47 | - |
| Turbocharger System | 48-49 | - |
| Fuel Injection System | 50-53 | - |
| Fuel Filter and Bracket | 54-55 | - |
| Oil Cooler and Oil Filter | 56-57 | - |
| Oil Pump and Oil Strainer | 58-59 | - |
| Oil and Vacuum Piping; Engine | 60-61 | - |
| Emission Piping | 62-63 | - |
| Engine Electrical Control Parts | 64-67 | - |
| Starter | 68-69 | - |
| Generator | 70-71 | - |
| Wiring Harness and Fuse | 72-73 | - |
| Fixing Parts; Wiring Harness | 74-75 | - |
| Switch and Relay; Instrument Panel | 76-77 | - |
Quick Reference Specifications
| Specification | Value | Page |
|---|---|---|
| Turbocharger Mounting Nut Size | M8 | p. 49 |
| Exhaust Pipe Mounting Nut Size | M8 | p. 49 |
| Sprocket to Layshaft Bolt Size | M6X16 | p. 27 |
| Idle Gear Bolt Size | M10X60 | p. 27 |
| Cylinder Head Gasket Thickness (1-Notch) | 1.05 mm | p. 15 |
| Cylinder Head Gasket Thickness (2-Notch) | 1.10 mm | p. 15 |
| Glow Plug Voltage | 24V | p. 15 |
| Water Drain Plug Thread Size | PT1/4 | p. 19 |
| Oil Gallery Plug Thread Size | PT1/8 | p. 21 |
| Injection Pump Drive Gear Tooth Count | Z=44 | p. 27 |
| Flywheel Ring Gear Tooth Count | Z=122 | p. 29 |
| Thermostat Opening Temperature | 85°C | p. 43 |
Isuzu 4JJ1XYSB02 Common Problems This Manual Covers
Isuzu 4JJ1XYSB02 turbocharger replacement part number unclear after power loss and excessive smoke p. 48
Open the Turbocharger System exploded view on page 48. The complete turbocharger assembly is part #18-98019-8930. Mounting studs are M8x20 with 31 mm length (page 49). Confirm your engine serial number matches the parts list before ordering, and cross-reference the exhaust manifold gasket on page 37 for reinstallation.
Manual Section: Turbocharger SystemCan't identify correct fuel injector part number for rough idling and misfiring p. 50
Turn to the Fuel Injection System diagram on page 50. Individual injectors appear with complete assembly numbers; the corresponding parts list runs pages 51-53. Order the injector seal kit (separate line item) to prevent leaks. Identify the nozzle holder assembly for each injector before placing your order.
Manual Section: Fuel Injection SystemTiming chain replacement components needed after engine noise at high mileage p. 26
Consult the Camshaft and Valve section starting on page 26. Timing chain, tensioner, and idle gear carry separate part numbers. The chain tensioner nut is M6 (page 27); sprocket nut is M14. Idle gear bolts spec at M10x60 or M12x60. Order the complete timing chain kit, which bundles the chain, tensioner arm, guides, and fasteners.
Manual Section: Camshaft and ValveDPF replacement part number unknown after power reduction and limp mode activation p. 62
Find the Emission Piping exploded view on page 62. The DPF assembly part number is listed separately from mounting hardware and sensors. Match all clamp sizes and gasket specs to your engine build date. Cross-reference exhaust system components for full compatibility before ordering.
Manual Section: Emission PipingStarter motor part number needed after hard starting in cold weather p. 68
Reference the Starter section on page 68. The complete assembly is rated 24V 4.0KW (page 65). Confirm the mounting bolt pattern and electrical connector type for your engine variant. Starter drive assembly and solenoid are available separately if partial replacement suffices; brush set and bearing kit availability appears in the parts list.
Manual Section: StarterThermostat housing gasket kit unclear after coolant loss with no visible leak p. 42
Study the Thermostat and Housing section on page 42. The thermostat opens at 85°C (page 43); the gasket kit covers all housing seals. Cross-reference the Water Piping diagram on page 44 to identify internal coolant passage O-rings. Order the complete cooling system gasket set to address hidden leak points.
Manual Section: Thermostat and HousingFrequently Asked Questions
What format is this Isuzu 4JJ1XYSB02 manual in?
Instant PDF download. The full 80-page searchable Parts Catalog arrives immediately after payment. Open it on your laptop, tablet, or phone right in the shop.
Are there any print restrictions on this Isuzu 4JJ1XYSB02 manual?
None. No DRM or copy protection. Print the entire manual or just the pages you need on any home or office printer.









Reviews
There are no reviews yet.